|
|
| Автор |
Сообщение |
Andrey V. Новобранец
Зарегистрирован: 31.12.2006 Сообщения: 4
Статус: Вне форума
|
31.12.2006 20:13 Подключение ц.з. к блоку сигнализации |
[цитировать] |
|
Разъясните пожалуйста как подключить 2 моторчика к блоку сигнализации. Хочу поставить замки на 2 передние двери. Разъяните пожалуйста, по схеме не совсем понятно...с физикой не в ладах
От моторчика идет синий и зеленый провода.
От блока сигнализации идут: Сине-красный, Сине-белый, Сине-желтый, Зелено-красный, Зелено-белый, Зелёно-желтый провода - управление централизованным запиранием дверей автомобиля.
Сине-красный Нормально замкнутый контакт реле отпирания
Сине-белый Общий контакт реле отпирания
Сине-желтый Нормально разомкнутый контакт реле отпирания
Зелено-красный Нормально замкнутый контакт реле запирания
Зелено-белый Общий контакт реле запирания
Зелено-желтый Нормально разомкнутый контакт реле запирания
Вот как эти провода соединить чтобы все работало?
|
|
| Вернуться к началу |
[профиль] [л.с.] |
 |
Xpert Эксперт
Зарегистрирован: 12.08.2005 Сообщения: 479 Откуда: Москва
Статус: Вне форума
|
01.01.2007 12:25 |
[цитировать] |
|
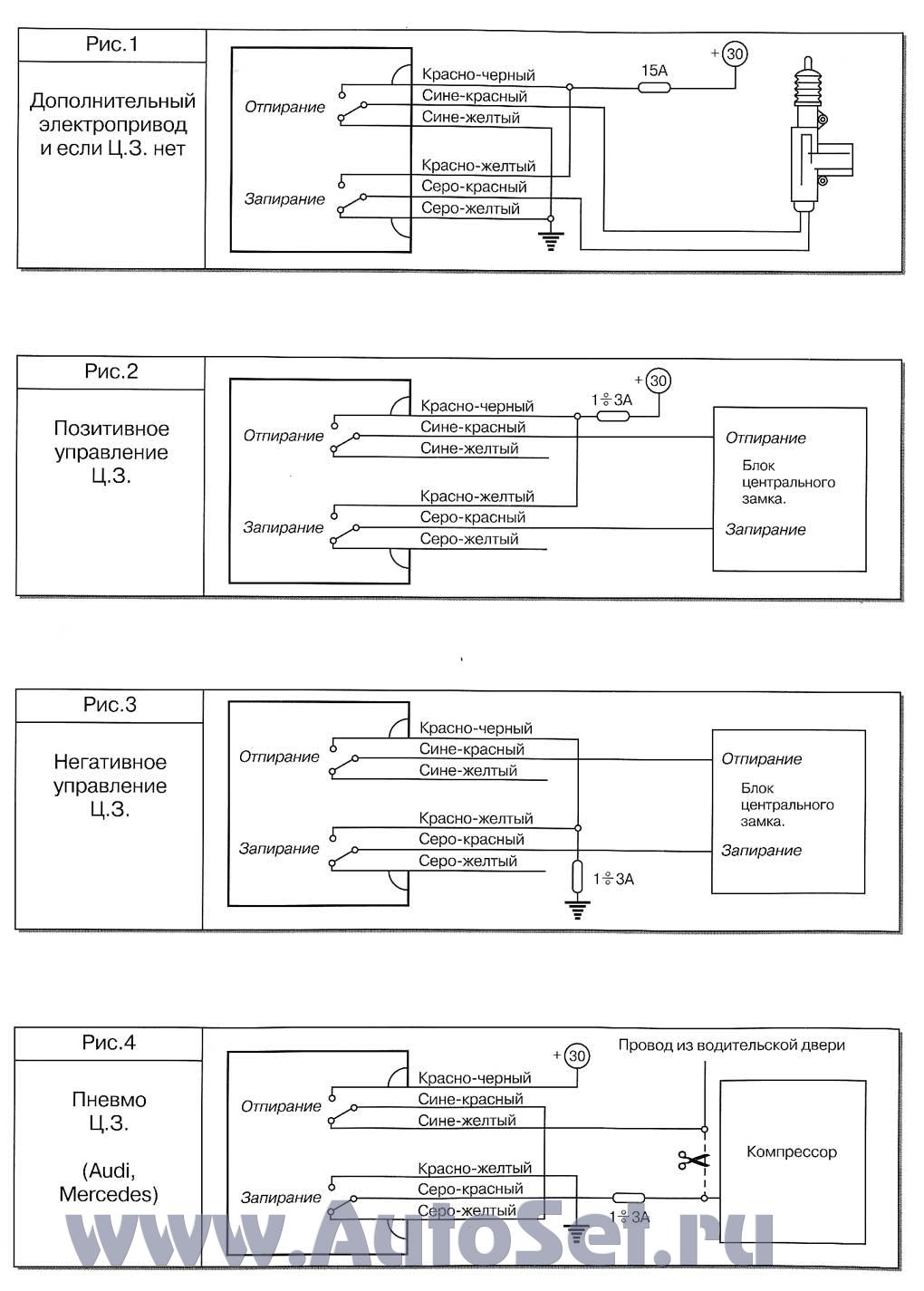
См. рис 1. По цветам может не совсем совпать, но принципиально вот так.
| Описание: |
|
 Скачать |
| Имя файла: |
цз.jpeg |
| Размер файла: |
150.44 KB |
| Скачано: |
1260 раз(а) |
|
|
| Вернуться к началу |
[профиль] [л.с.] |
 |
serge-singer Тех. поддержка MMS Alligator

Зарегистрирован: 24.06.2004 Сообщения: 3572 Откуда: Москва
Статус: Вне форума
|
03.01.2007 21:34 |
[цитировать] |
|
Сине-красный Нормально замкнутый контакт реле отпирания..........на массу
Сине-белый Общий контакт реле отпирания..........к мотору
Сине-желтый Нормально разомкнутый контакт реле отпирания..........+12В
Зелено-красный Нормально замкнутый контакт реле запирания..........на масссу
Зелено-белый Общий контакт реле запирания..........к мотору
Зелено-желтый Нормально разомкнутый контакт реле запирания..........+12В
_________________ Если ни что другое не помогает, прочти, наконец, инструкцию!!!
Общаться с незнакомым человеком, нужно на ВЫ, если не было принято обоюдного согласия, общаться на ТЫ. Уважайте собеседника. |
|
| Вернуться к началу |
[профиль] [л.с.] |
 |
|