|
|
| Автор |
Сообщение |
Baileys58 Эксперт

Зарегистрирован: 10.01.2009 Сообщения: 963 Откуда: Москва
Статус: Вне форума
|
10.01.2010 14:31 |
[цитировать] |
|
Шурик-303
Помниться Вам уже отвечали на другом сайте, на АВТОЭЛЕКТРИКЕ...
Или не подходит тот способ?
_________________ С уважением Baileys. |
|
| Вернуться к началу |
[профиль] [л.с.] |
 |
Шурик-303 Студент
Зарегистрирован: 09.01.2010 Сообщения: 5
Статус: Вне форума
|
10.01.2010 17:00 |
[цитировать] |
|
| Мне бы по подробней хочу сам сделать.Вроде бы руки из нужного места растут, и в электрике немного разбираюсь. Нужна инструкция по установке подробная желательно
|
|
| Вернуться к началу |
[профиль] [л.с.] |
 |
Baileys58 Эксперт

Зарегистрирован: 10.01.2009 Сообщения: 963 Откуда: Москва
Статус: Вне форума
|
10.01.2010 17:27 |
[цитировать] |
|
Инструкцию скачать можно здесь: http://www.autoset.ru/catalogue/moduli_i_kontrolleri_c16/mongoose_pwm_4_i406-w3.html#f_hars
Подключения можно сделать в двери водителя. Только протянуть туда два провода нужно +30 и управление с доп. канала №2. Провода стеклоподъёмников вызвонить - минутное дело.
_________________ С уважением Baileys. |
|
| Вернуться к началу |
[профиль] [л.с.] |
 |
Шурик-303 Студент
Зарегистрирован: 09.01.2010 Сообщения: 5
Статус: Вне форума
|
10.01.2010 17:49 |
[цитировать] |
|
Схема подключения есть, провод доп канала №2 знаю где взять, а +30 это что за провод?? И ещё электрики которые должны были мне поставить доводчик, сослались на гимор при установке на данный тип автомобиля японского производства, типа этот блок не подходит,там стеклоподъёмники по другому принципу работают и что нужно во все двери доп провода тянуть. И в конечном итоге отказались ставить или за большие деньги. Вот я пытаюсь сам разобраться что к чему. Мозги есть, надо только с прфессиональным сленгом электриков разобраться. Пока не все выражения понятны
С уважением Шурик-303.
|
|
| Вернуться к началу |
[профиль] [л.с.] |
 |
Baileys58 Эксперт

Зарегистрирован: 10.01.2009 Сообщения: 963 Откуда: Москва
Статус: Вне форума
|
10.01.2010 18:53 |
[цитировать] |
|
+30 - Это постоянный плюс. Соответственно та цепь, куда будете подключаться должна быть достаточной мощности, можно от замка взять и через предохранитель.
Не буду оспаривать мнение тех электриков, но то что я делал выглядело так:
- Лев.перед.=Красный, Прав.перед.=Красн/син, Левый задний=Красн/бел, Прав.задний=Красн/бел.
Всё в двери водителя, машина кажется 2000 года.
Проверьте, если там появляется плюс при поднятии соответствующего стекла, то режем их и соединяем в соответствии со схемой.
_________________ С уважением Baileys. |
|
| Вернуться к началу |
[профиль] [л.с.] |
 |
Baileys58 Эксперт

Зарегистрирован: 10.01.2009 Сообщения: 963 Откуда: Москва
Статус: Вне форума
|
10.01.2010 19:15 |
[цитировать] |
|
Кстати есть модели где управление идёт по цифре, вот тогда или в каждую дверь по два провода, или искать альтернативу по слаботочке, в водительской двери. Если не ошибаюсь это 2003 года модели. Поэтому возможно правильно Вам ответили.
_________________ С уважением Baileys.
Последний раз редактировалось: Baileys58 (10.01.2010 19:24), всего редактировалось 1 раз |
|
| Вернуться к началу |
[профиль] [л.с.] |
 |
Шурик-303 Студент
Зарегистрирован: 09.01.2010 Сообщения: 5
Статус: Вне форума
|
10.01.2010 19:19 |
[цитировать] |
|
| В комплекте с доводчиком идут провода там два провода плюсовых с предохранителем один на 20А силовой а второй на 3А куда его нужно подцепить. Теперь что косается о перечисленных цветных проводах. Я так понимаю это провода которые подходять к блоку управления стеклами находящемся в двери водителя??? Если всё удачно сложится перед тем как резать там будет видно куда пойдут концы провода т. е. один к мотору другой к клавише на подъём стекла. И ещё вопрос. Там в комплекте уже есть провода(+ запускающий) белый/желтый и (- запускающий) желтый для подключения к доп каналу №2 какой использовать???
|
|
| Вернуться к началу |
[профиль] [л.с.] |
 |
Шурик-303 Студент
Зарегистрирован: 09.01.2010 Сообщения: 5
Статус: Вне форума
|
10.01.2010 19:30 |
[цитировать] |
|
| Если не ошибаюсь то электрик говорил что в дверь на управление стёклами както мало проводов подходит. Надо будет на днях глянуть и фото сделать. Машина 2002г выпуска электронный газ т.е. ТНВД электронное управление, может и со стёклами что навертели
|
|
| Вернуться к началу |
[профиль] [л.с.] |
 |
Baileys58 Эксперт

Зарегистрирован: 10.01.2009 Сообщения: 963 Откуда: Москва
Статус: Вне форума
|
10.01.2010 19:33 |
[цитировать] |
|
В личку скинул.
_________________ С уважением Baileys. |
|
| Вернуться к началу |
[профиль] [л.с.] |
 |
Шини Новобранец
Зарегистрирован: 12.05.2010 Сообщения: 1
Статус: Вне форума
|
12.05.2010 12:14 |
[цитировать] |
|
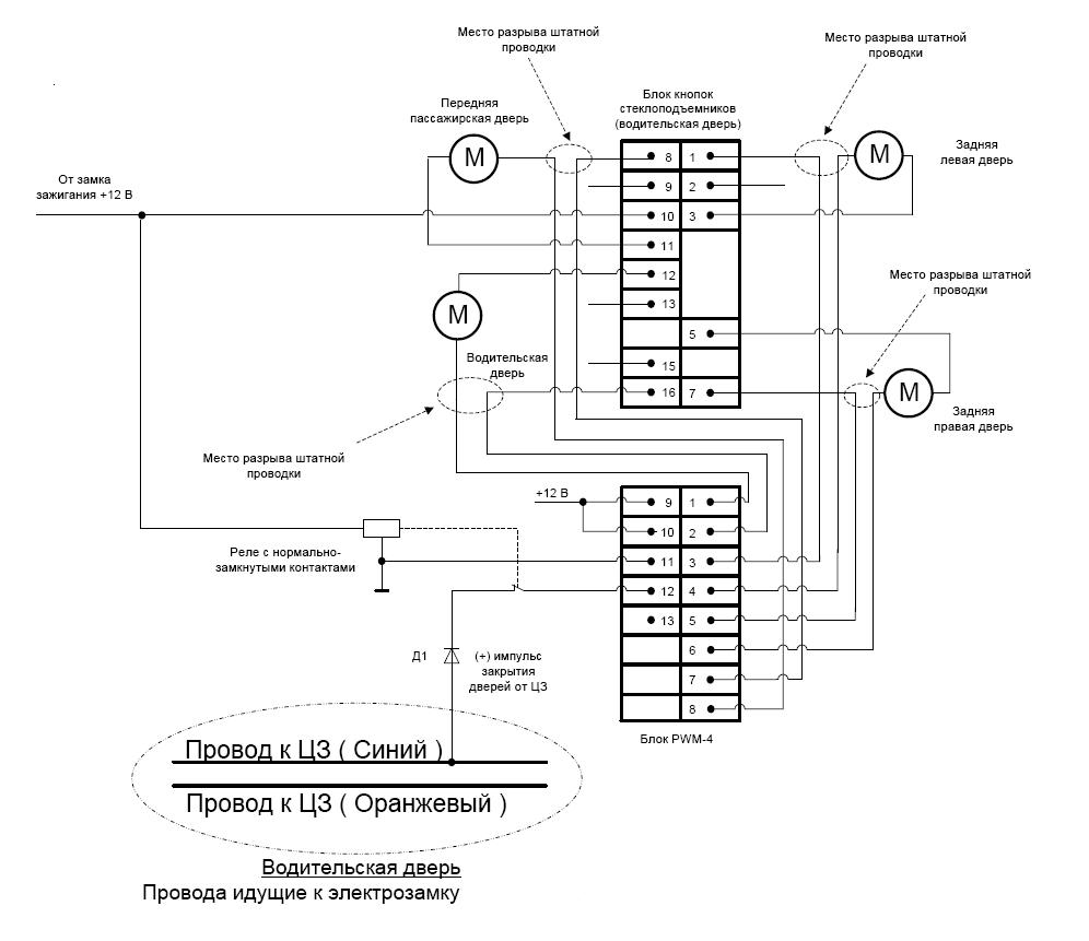
Помогите пожалуйста с решением небольшой проблемки. Установил данный девайс на своё авто Ниссан Кашкай 2008, все работает, но постоянно слетает верхнее положение водительского стекла у штатного доводчика...вот схема подключения
| Описание: |
|
 Скачать |
| Имя файла: |
.JPG |
| Размер файла: |
81.15 KB |
| Скачано: |
1566 раз(а) |
|
|
| Вернуться к началу |
[профиль] [л.с.] |
 |
|